首页财产当局指导基金正文 国度创投指导基金区域基金增资,险资入场 京津冀区域基金工商注册信息发生变动,注册本钱从296.46亿元增至500亿元,多家金融机构新进成为出资人,此中包括3家险资机构。 2026-03-05 10:53 ·投资界 AI投资人解读· 国度创业投资指导基金下设的京津冀区域基金已经扩容至超500亿元,新增包括新华保险、中汇人寿、中再寿险3家险资机构为出资人。险资机构踊跃结构科技金融范畴,如中汇人寿精准注资要害范畴,新华保险加年夜对于新基建等撑持。京津冀区域基金2025年12月建立,2月28日注册本钱与履行事件合股人变动。· 行业竞争加重可能使险资机构投资收益受影响;政策变更或者对于基金投向孕育发生限定。总结:京津冀区域基金获险资注资,于科技金融范畴结构,有必然投资潜力,但需存眷行业竞争与政策变更危害,可进一步评估其投资计谋与市场顺应性。内容由AI天生,仅供参考
投资界(ID:pedaily2012)3月5日动静,今朝,国度创业投资指导基金下设的三年夜区域基金均已经举行资金扩容,范围都已经跨越500亿元。此中,京津冀创业投资指导基金合股企业(有限合股)(下称“京津冀区域基金”)的新增出资人中呈现了险资机构的身影。

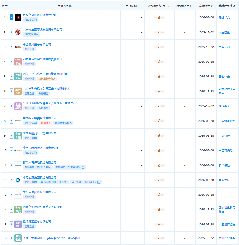
图片来历:企查查
2月28日,京津冀区域基金工商注册信息发生变动,注册本钱从296.46亿元增至500亿元,多家金融机构新进成为出资人,此中包括3家险资机构,即新华保险、中汇人寿、中再寿险,3家机构均属在中投系,这也是首批投资国度创投指导基金区域基金的险资机构。
当前,险资机构正努力做好“科技金融”年夜文章。中汇人寿暗示,经由过程介入持久股票投资试点、投资京津冀创业投资指导基金、投资撑持半导体财产基金等方式,公司将资金精准注入国度急需的要害范畴,以现实步履维护本钱市场不变、促成科技自主自强,揭示了国有本钱的战略引领作用。
新华保险也公然暗示,踊跃赋能新质出产力成长,结合设立新质出产力相干主题的创投基金,并摸索经由过程新模式加年夜对于新基建、战略性新兴财产的撑持力度。这些结构,既全力撑持了国度战略科技气力的打造,也让新华保险于市场中分享了中国科技突起的盈余。
作为国度创业投资指导基金三年夜区域基金之一,京津冀区域基金在2025年12月22日建立,由中投公司下属中金本钱作为治理团队。于2月28日变动注册本钱的同时,京津冀区域基金的履行事件合股人也有所变动——从中金本钱变动为国创中金(北京)运营治理有限公司(下称“国创中金”)。
来历:证券时报
点击获取更多LP资讯
https://www.pedaily.cn/s104/
本文来历投资界,原文:https://news.pedaily.cn/202603/561401.shtml
【本文为投资界原创,网页转载须于文首注明来历投资界(微信公家号ID:PEdaily2012)和作者名字。微信转载,须于微信原文评论区接洽授权。背规转载必究责。】-lehu乐虎88国际